產品類別
推薦產品
- 鋅鋁稀土合金鍍層鋼絲
- 硬銅絞線
- 鋁包鋼絲
- 軟銅絞線
- 鋅-5%鋁稀土合金鍍層鋼絞
- 電工鋁合金圓桿
- 鎂銅合金絲
- 鋼芯鋁絞線
- 8000系鋁合金桿
- 鋁包鋼芯鋁合金絞線
- 鋼鋁復合接觸線
- 間隙式鋼芯鋁絞線
- 銀銅合金絲
- IACS耐熱鋁合金絞線
- 鋅-5%鋁稀土合金鍍層鋼絲
- 耐熱擴徑導線
熱門新聞
銅桿連鑄連軋生產線詳解
連鑄連軋整個生產線均為自動控制,包括置換電解銅板、焊接種子桿及成品桿的運送等材料搬運工作。
下面對生產線的關鍵設備及其作用逐一加以介紹。
①連鑄連軋生產線之預熱爐。
預熱爐用于電解銅板的預熱,并清除銅板表面水分及硫酸根離子。預熱爐可由電或天然氣加熱,在銅板溫度超過300℃時,保溫爐內須有稍微正壓的保護性氣氛,從而保證銅板不受氧化。
真空裝料機按訊號指令把電解銅放在預熱爐輥道,在預熱爐內加熱到250-800℃,然后經入爐輥道靠重力作用進入熔化爐。
②連鑄連軋生產線之熔化爐。
熔化爐為工頻感應電爐。設有裝料口和扒渣口,裝料口與入爐輥道相連,以便電解銅板的連續加料;扒渣口用于清渣和填加覆蓋層。
熔化爐容量在20t以上。爐體可以正反方向旋轉,爐可以在運行中進行維修和更換感應器。
③連鑄連軋生產線之保溫爐。
保溫爐亦為工頻感應電爐,容量9左右。其作用是控制和穩定銅液溫度及坩堝液面高度,保溫爐還裝有液面探桿,用以控制液面髙度。
熔化、保溫爐可通過改變感應器的電壓進行溫度自動控制。
目前熔化爐、保溫爐為一體的組合爐已投入工業應用,從而提高了電爐效率及熱效率,組合爐如圖1-35。
④連鑄連軋生產線之鑄造設備。
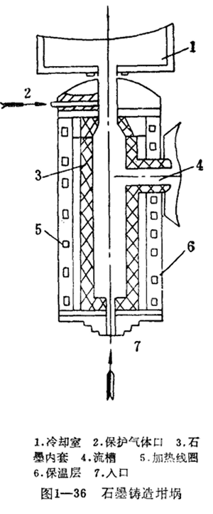
浸涂成型的鑄造系統由石墨坩堝和芯桿組成。坩堝為“鑄造器”, 芯桿即為“鑄模”。芯桿既是“鑄模”又是產品的一部分。芯桿表面質量是鑄桿質量的關鍵。因此芯桿在進入坩堝前必須經過拉伸、扒皮、清除表面氧化物、油污和氣體等,并嚴格保證尺寸公差。拉伸、扒皮部分可看成鑄造設備的一部分。扒皮后芯桿在真空中 校直進入坩堝。坩堝示意圖如圖1-36。

⑤連鑄連軋生產線之冷卻室。
冷卻室在坩堝上部,內裝噴嘴,以水冷卻鑄桿。鑄桿經上傳動彎曲轉 向進入軋前冷卻管。冷卻室內充以保護性氮氣,防止銅桿氧化。調節冷卻室水量使桿冷卻軋前溫度。
⑥連鑄連軋生產線之軋機。
浸涂成型生產線的軋機為直列、45°交叉封閉式。每個機架由一個直流電機驅動,并有螺桿機構對軋輥間隙進行調整。螺桿機構由電機驅動,因此可在1分鐘內完成軋機孔型尺寸的改變。
軋機通入氮氣,可防軋輥及銅桿氧化。軋機亦通入乳濁液冷卻軋輥和銅桿,并可清除微量氧化物。
⑦連鑄連軋生產線之繞桿機。繞桿機是將軋制后的銅桿繞制成圈,經過控制可得到緊密包裝。成圈重量可根據搬運設備而定。
⑧連鑄連軋生產線之保護氣體發生裝置。在整個浸涂生產線中,從銅板銅桿應有嚴格氣體保護,不得氧化。預熱爐、熔化爐、保溫爐、石墨坩堝、冷卻室、軋機等均應有氣體保護。熔化爐液面應加木炭覆蓋層。木炭覆蓋層既可保護銅液不受氧化,又可進行銅的表面脫氧。為減少銅中氧含量,保護氣體中必須含氫 氣。
保護氣體成分應包括氮氣、氫氣及一氧化碳。氮氣可由天然氣(丙烷、丁烷)燃燒后經分子篩制取,亦可由空氣制取。
⑨連鑄連軋生產線之乳濁液系統。乳濁液系統供軋輥及無氧銅桿冷卻,亦可在銅桿表面形成保護膜防止銅桿氧化,提高軋輥壽命。
乳濁液系統可將乳濁液連續循環、過濾、經熱交換器進行熱交換。
